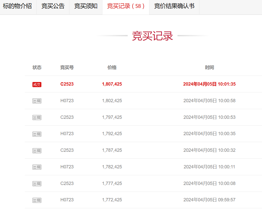
在东莞市,有一种房产非常特别,就是分布在东莞市各个各个工业园区和村镇的自建房,这种自建房一般是做成了出租屋,然后出租给外地打工人来居住,这种出租屋的租金往往也是非常便宜,一房的户型,可能三四百块钱一个月就行了,唯一不好的就是出租屋的电费比较贵。而这种自建房在东莞市,其房子价值也是最低的,可能一栋几百平方的房子,百来万甚至一百万就可以买到了。这不,近日,在东莞市的东部镇区,樟木头一栋巨无霸出租屋被法院,就是以一百多万元就成交了。 4月6日,一栋位于东莞市樟木头镇柏兴路九巷16号的自建房出租屋迎来了被拍卖的最后一天竞拍。此次拍卖的出租屋,一共四层,建筑面积达到了537.87平方米,宗地面积81.17平方米,因为是出租屋,所以房子装修也是比较普通。从图片来看,该栋房子也是涉及有单间的出租房。不过具体有多少间出租屋不详。 此次拍卖,起拍价为136.2425万元。因为这种农村自建房,其性质属于集体性质用地建设的房子,所以,拍卖对竞拍者是有要求的,只能限房子所在村村民,而且必须满足一户一宅条件才能竞拍。这也是为何这房子起拍价比较低的原因之一。不过虽然拍卖对竞拍者要求比较苛刻,但是此次拍卖,还是吸引了5人报名竞拍。相比于其他地方的农村房屋,东莞这些地方的农村自建房,竞拍者就不会考虑什么本村人的关系问题,只要觉得有利可图就会买。不像其他地方的农村民房,一般本村人都不会买,即使再便宜。 此次拍卖,竞争还是比较激烈的,一共出现了58次加价,最终以180.7425万元成交,成交价比起拍价高出了44.5万元。从拍卖结果来看,竞得者跟原来房东同姓,都是姓蔡,不知道是不是房子所在村村民都是姓蔡,还是房子被元房东亲属买下的。 此次拍卖的房子位于东莞市樟木头镇区中心地段,离樟木头镇政府比较近。不过是樟木头比较中心的位置,但这里缺乏商业,不是樟木头商圈。此外房子周边缺乏大型工业园区,这个对于这种出租屋来说,对外出租就会比较难了。一般出租屋要不在比较繁华的商圈,要不就是在工业园区里。 所以,这种出租屋,180万元买下来,不知道投资回报率如何,大家觉得这房子值不值得买来做出租屋呢?




上一篇
下一篇